|
previous topic :: next topic |
| Author |
Message |
Gman

Since 11 Feb 2006
4911 Posts
Portland
Unstrapped
|
Sun Jan 20, 08 3:42 pm Groundboard Session at Chinook Landing |
|
|
| Heading out to Marine Dr & 223rd to Chinook Landing - should be good.
|
|
|
stringer

Since 31 Jul 2007
694 Posts
Chucktown
Flying Tomato
|
Sun Jan 20, 08 3:57 pm |
|
|
Is chinook landing lit very well after dark?
I was thinking about hitting up the airport after work about 6:30.
Let me know how it is.
|
|
|
Gman

Since 11 Feb 2006
4911 Posts
Portland
Unstrapped
|
Sun Jan 20, 08 8:53 pm |
|
|
No lights at Chinook Landing and they want you out by sunset - did look like they lock the gate.
The wind was total crap - 0 to 25 - did manage to retain all my teeth - the longboard is super fun just tooling around the lot sans kite.
I think 25 may be too much for the B3 on the concrete or the punchy wind was impossible...
Any tricks for setting up and solo relaunching on the concrete - seemed like the kite was getting worked.
|
|
|
FlyDunes

Since 09 Oct 2007
1034 Posts
Aloha
XTreme Poster
|
Sun Jan 20, 08 9:33 pm |
|
|
| Gman wrote: |
Any tricks for setting up and solo relaunching on the concrete .... |
Yep, get a 4-line foil on handles (not a sheetable foil). Simple to self-launch/relaunch, no hassle. And a LOT more control and fun than a two line.
Also, you should try ground boarding on hard-pack sand sometime. Fun and less risk of road rash than kiting on concrete.
PM me for my cell # and call me next time you are headed for the coast. I have a ton of 4-line foils, 3 buggies and a couple of ground boards. I'll let you try some out if I'm around.
Or hook up with Eli Anderson at Above It all Kites in Seaside and tell him you want to demo a 4-line kite. Tell him you want to try an Ozone Yakuza. They're the shit .
_________________ Lets FLY |
|
|
Gman

Since 11 Feb 2006
4911 Posts
Portland
Unstrapped
|
Mon Jan 21, 08 12:31 am |
|
|
| Very cool. Thx
|
|
|
chanson

Since 31 Jan 2006
1874 Posts
WISCONSIN
Chimey
|
Mon Jan 21, 08 9:44 am |
|
|
My windwing has 2 lines connected to the back of the kite for reverse re-launch....it really helps from not sliding across the pavement to get to the edge of window for regular re-launch. kinda gets in the way when looping and rigging....but I figured it was worth it to keep it on for the reverse re-launch. and it def is
_________________ Shallow Dive Design, 2nd Wind Sports, Airush, Trident Sports |
|
|
stringer

Since 31 Jul 2007
694 Posts
Chucktown
Flying Tomato
|
Mon Jan 21, 08 10:27 am |
|
|
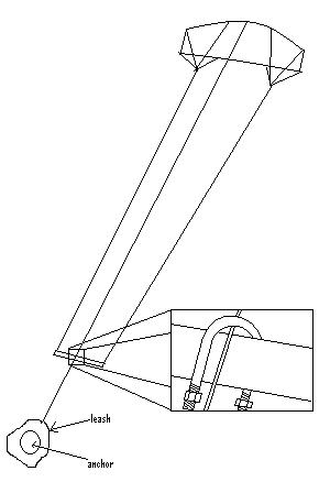
This is how I usually set up.
It prevents the kite from getting slack and balling up, which is my biggest problem with launching the trainer.
I believe you can get actual third line conversion kits for the b3, so you don't have to be as ghetto-riffic as me.
Also, this way the kite will depower when you bail.
Is anyone planning on heading out to the airport today?
If so, when?
It was alot of fun last night.
 |
| |
kite setup.JPG |
|
|
|
chanson

Since 31 Jan 2006
1874 Posts
WISCONSIN
Chimey
|
Mon Jan 21, 08 10:37 am |
|
|
| Quote: | Is anyone planning on heading out to the airport today?
If so, when?
It was alot of fun last night. |
I'd love to go out....I will try and round up Tony and Blake...
I will be on camera duty.. It's F-ing cold though!!
_________________ Shallow Dive Design, 2nd Wind Sports, Airush, Trident Sports |
|
|
chanson

Since 31 Jan 2006
1874 Posts
WISCONSIN
Chimey
|
Mon Jan 21, 08 12:22 pm |
|
|
| Quote: | | Portland Int 11:53am EAST 18g23 12 21g26 20g25 16g24 16g24 |
looks good!
_________________ Shallow Dive Design, 2nd Wind Sports, Airush, Trident Sports |
|
|
stringer

Since 31 Jul 2007
694 Posts
Chucktown
Flying Tomato
|
Mon Jan 21, 08 1:14 pm skating today |
|
|
I'm shooting for 2:30ish
I have to finish painting a room first.
Hopefully I'll see you guys out there
|
|
|
Kraemer

Since 24 Apr 2006
1736 Posts
Sky Pilot
Unicorn Captain
|
|
|
Gman

Since 11 Feb 2006
4911 Posts
Portland
Unstrapped
|
Mon Jan 21, 08 1:54 pm |
|
|
Blessed with selective amnesia.
I sprained my back almost a month ago in Mexico - still works but tweaked - so I went to the PT today and he has me working on these little micro stretches - and all I can I think is one good slam on the pavement should set it straight just like Dr Homer's Miracle Spine-O-Cylinder
|
|
|
chanson

Since 31 Jan 2006
1874 Posts
WISCONSIN
Chimey
|
Mon Jan 21, 08 6:24 pm |
|
|
Good time tonight...
Stringer-nice job greasn' the rail..
Everyone else-nice job rippin'
Everyone not there.....-come out next time
-wish I could be ripping too.
 |
| |
bryan toeside.JPG |
 |
| |
cruising.JPG |
 |
| |
crowded night.JPG |
 |
| |
Gman round the corner.JPG |
 |
| |
tony moon.JPG |
 |
| |
stringerrrrrr.JPG |
 |
| |
moving photo.JPG |
 |
| |
KEv.JPG |
 |
| |
stringer.JPG |
_________________ Shallow Dive Design, 2nd Wind Sports, Airush, Trident Sports Last edited by chanson on Mon Jan 21, 08 6:43 pm; edited 1 time in total |
|
|
stringer

Since 31 Jul 2007
694 Posts
Chucktown
Flying Tomato
|
Mon Jan 21, 08 6:42 pm |
|
|
Sweet pics Jake
| Quote: | Everyone not there.....-come out next time Wink
|
I agree.
cough...blake...cough
Its a lot of fun, and there's plenty of parking lot to shred!!
|
|
|
Kataku2k3

Since 14 Aug 2005
3753 Posts
Los Angeles, CA
Videographer
|
Mon Jan 21, 08 7:16 pm |
|
|
Nice pics!
SS does make a "Ready Relaunch kit" for the B2 and B3 - http://buyslingshotsports.com/s.nl/sc.2/category.4214/.f
I've got my custom version of it setup on my B3, but it's hard to get dialed in front of my house...
 |
| Tucker sports his Slingy hoody skate kiting too! |
Tucker.jpg |
Last edited by Kataku2k3 on Mon Jan 21, 08 7:42 pm; edited 2 times in total |
|
|
Gman

Since 11 Feb 2006
4911 Posts
Portland
Unstrapped
|
Mon Jan 21, 08 7:38 pm |
|
|
Great shots! That was crazy fun - wild watching everyone cruise around - got home and Dogtown and Z Boys was on the tube - a few more pics
 |
| |
Tony.jpg |
 |
| |
Doggies.jpg |
 |
| |
Stringer da master.jpg |
 |
| |
Chanson - One handed.jpg |
|
|
|
Kataku2k3

Since 14 Aug 2005
3753 Posts
Los Angeles, CA
Videographer
|
Mon Jan 21, 08 7:45 pm |
|
|
If I were to build a nice, decent size kicker, would anyone be down to hit it out there in the parking lot? Need to get some new photos.
|
|
|
|